一、 ZW型直聯式自吸排污泵的詳細資料:
ZW型直聯式自吸排污泵是我公司根據ZW型自吸無堵塞排污泵的結構及性能研究國內外同類技術的基礎上開發成功的一種結構新穎的產品,該泵集自吸和無堵塞排污于一體,采用軸向回流外混式,并通過泵體、葉輪流道的獨特設計,即可象一般自吸清水泵那樣不需要安裝底閥和灌引水,又可吸排含有大顆粒固體和長纖維雜質液體,可廣泛適用于市政排污工程、河塘 養殖、輕工、造紙、紡織、食品、化工、電業、纖維、漿料和混合懸浮等化工介質理想的雜質泵。 該泵采用直聯式結構與國內同類產品相比,具有結構簡單緊湊、振動少,自吸性能好、排污能力強、高效節能,使用維修方便等特點,具有廣闊的應用市場和發展前景。
二、ZW型直聯式自吸排污泵型號意義:

三、ZW型直聯式自吸排污泵使用范圍:
ZW型直聯式自吸排污泵與國內同類產品相比,具有結構簡單、自吸性能好、排污能力強、高效節能,使用維修方便等特點,具有廣闊的應用市場和發展前景。
1、環境濕度 50℃,介質溫度 80℃特要求可達 200℃。
2、介質PH值鑄鐵材質為6-9,不銹鋼為2-13。
3、介質重度不超過1240千克/m3。
4、自吸高度不能超過規定值4.5-5.5米,吸入管長度為 10米。
5、通過能力懸浮顆粒直徑為泵口徑的60%,纖維長度為泵口徑的5倍。
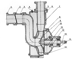
四 、ZW型直聯式自吸排污泵結構說明:
1 | 進口接管 | 7 | 氣液分離管 | 13 | 泵 軸 |
2 | 進口閥 | 8 | 后 蓋 | 14 | 軸承蓋 |
3 | 中接管 | 9 | 葉 輪 | 15 | 底蓋板 |
4 | 加水螺栓 | 10 | 機械密封 | 16 | 口 環 |
5 | 出口接管 | 11 | 擋水圈 | ||
6 | 泵 體 | 12 | 軸承座 |

五、ZW型直聯式自吸排污泵參數列表:
型號 | 流量 | 揚程 | 功率 | 轉速 | 效率 | 汽蝕余量 | 自吸高度 | 自吸時間 | 重量(kg) |
ZW25-8-15 | 8 | 15 | 1.5 | 2900 | 45 | 2.0 | 5.0 | 3 | 68 |
ZW32-9-30 | 9 | 30 | 3 | 2900 | 48 | 2.5 | 5.0 | 3 | 68 |
ZW40-10-20 | 10 | 20 | 2.2 | 2900 | 45 | 2.5 | 5.0 | 3 | 95 |
ZW40-20-15 | 20 | 15 | 2.2 | 2900 | 45 | 2.5 | 5.0 | 3 | 68 |
ZW40-15-30 | 15 | 30 | 3 | 2900 | 48 | 2.5 | 5.0 | 3 | 68 |
ZW50-10-20 | 10 | 20 | 2.2 | 2900 | 45 | 2.5 | 5.0 | 3 | 68 |
ZW50-20-15 | 20 | 15 | 2.2 | 2900 | 45 | 2.5 | 5.0 | 3 | 68 |
ZW50-15-30 | 15 | 30 | 3 | 2900 | 48 | 2.5 | 5.0 | 3 | 95 |
ZW50-20-35 | 20 | 35 | 5.5 | 2900 | 48 | 2.5 | 5.5 | 3 | 140 |
ZW50-20-40 | 20 | 40 | 7.5 | 2900 | 48 | 2.5 | 5.5 | 3 | 150 |
ZW65-30-18 | 30 | 18 | 4 | 2900 | 45 | 2.5 | 5.0 | 3 | 125 |
ZW65-25-30 | 25 | 30 | 5.5 | 2900 | 50 | 3.0 | 5.0 | 3 | 135 |
ZW65-25-40 | 25 | 40 | 7.5 | 2900 | 50 | 3.0 | 5.5 | 2 | 140 |
ZW65-40-25 | 40 | 25 | 7.5 | 2900 | 50 | 3.0 | 5.0 | 3 | 150 |
ZW65-65-25 | 65 | 25 | 11 | 2900 | 52 | 3.0 | 5.0 | 3 | 200 |
ZW80-40-16 | 40 | 16 | 4 | 2900 | 50 | 3.0 | 5.0 | 3 | 125 |
ZW80-40-25 | 40 | 25 | 7.5 | 2900 | 50 | 3.0 | 5.0 | 3 | 140 |
ZW80-25-40 | 25 | 40 | 7.5 | 2900 | 50 | 3.0 | 5.5 | 2 | 150 |
ZW80-65-25 | 65 | 25 | 11 | 2900 | 52 | 3.0 | 5.0 | 3 | 220 |
ZW80-80-35 | 80 | 35 | 15 | 2900 | 45 | 3.0 | 5.5 | 3 | 250 |
ZW80-50-60 | 50 | 60 | 22 | 2900 | 55 | 3.0 | 5.5 | 3 | 300 |
ZW100-100-15 | 100 | 15 | 7.5 | 1450 | 50 | 4.0 | 5.0 | 3 | 230 |
ZW100-80-20 | 80 | 20 | 7.5 | 1450 | 53 | 4.0 | 5.0 | 3 | 230 |
ZW100-100-20 | 100 | 20 | 11 | 1450 | 53 | 4.0 | 5.0 | 3 | 270 |
ZW100-100-30 | 100 | 30 | 22 | 1450 | 53 | 4.0 | 5.0 | 2 | 320 |
ZW100-80-45 | 80 | 45 | 30 | 2900 | 53 | 4.0 | 5.5 | 2 | 380 |
ZW100-80-60 | 80 | 60 | 37 | 2900 | 53 | 4.0 | 5.5 | 2 | 430 |
ZW100-80-80 | 80 | 80 | 45 | 2900 | 53 | 4.0 | 5.5 | 2 | 480 |
ZW125-120-20 | 120 | 20 | 15 | 1450 | 55 | 4.5 | 5.0 | 2 | 380 |
ZW150-200-15 | 200 | 15 | 15 | 1450 | 60 | 5.0 | 5.0 | 3.5 | 380 |
ZW150-200-20 | 200 | 20 | 22 | 1450 | 60 | 5.0 | 5.0 | 3 | 420 |
ZW150-200-25 | 200 | 25 | 30 | 1450 | 60 | 5.0 | 5.0 | 3 | 520 |
ZW150-180-30 | 180 | 30 | 37 | 1450 | 65 | 5.0 | 5.0 | 3 | 580 |
ZW150-180-38 | 180 | 38 | 55 | 1450 | 45 | 5.0 | 5.0 | 3.5 | 700 |
ZW200-280-14 | 280 | 14 | 22 | 1450 | 65 | 5.0 | 5.0 | 3 | 600 |
ZW200-300-18 | 300 | 18 | 37 | 1450 | 65 | 5.0 | 5.0 | 3 | 680 |
ZW200-280-28 | 280 | 28 | 55 | 1450 | 55 | 4.8 | 5.2 | 3 | 820 |
ZW250-420-20 | 420 | 20 | 55 | 1450 | 61 | 6.0 | 4.5 | 2.5 | 1020 |
ZW300-800-14 | 800 | 14 | 55 | 1450 | 65 | 6.0 | 4.5 | 2.5 | 1200 |
手機號:13968963669
13706783559?
電話:021-33897881
傳真:021-33897881
地址:上海市松江區葉榭鎮富成路896號